产品目录
推荐文章
- 人工血管薄膜破裂强度测试仪---带高度尺
- 稳态法气体孔渗仪
- 有创血压电外科手术干扰测量工装-2
- 无创血压监护设备电外科干扰测量工装
- 塑胶跑道层面材料阻燃试验机
- 呼吸和排液装置的部件试验装置
- 踏步机耐久试验机
- 带弹性密封圈的电缆引入装置和导管密封装置
- 伞类产品抗风强度测试仪
- 床垫冲击试验机
联系我们
联系人:王经理
联系电话:13120992305
客服QQ:1552956819
公司地址:上海市松江区洞泾镇长兴东路1586号
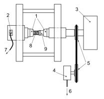
牙科扭转强力测试仪 牙科扭转测试仪 牙种植体抗扭性能测试仪
一、核心测试功能
抗扭性能测试
测量种植体-基台连接结构的抗扭强度,记录断裂扭矩峰值及破坏形式(如螺纹滑扣、界面分离)。
支持循环加载测试,监测长期咀嚼载荷下的扭矩衰减率。
紧固扭矩验证
对种植体施加规定值的紧固扭矩,保持5秒后观察变形/断裂,反向松开时松开扭矩需≥紧固扭矩的75%。
扩展应用
兼容根管锉、牙科手机等器械的扭力测试,分析抗弯抗扭复合性能。
二、关键技术参数
参数类别 | 指标范围 |
控制系统 | PLC控制系统 |
操作界面 | 彩色7寸触摸屏显示,中、英文菜单式操作,简单方便,显示直观 |
扭矩传感器 | 采用高精度扭矩传感器0-5N.m,精度0.01N.M-,旋转角度0-360°检测精度高、稳定性好、抗干扰性强(仪器触摸屏显示Nm) |
抗扭测试扭力范围 | 0-5N.m,精度0.01N.M-内外连接) |
电源 | 220V,50Hz |
设备重量 | 31.6kg |
外形尺寸 | 550*400*530(mm) |
自锁夹具 | 棘轮全金属自锁【0.8-10】[3/8螺纹接口] |
核心技术参数
1.精密减速机,传动稳、噪音小 |
2.核心传动机构选用进口精密导轨 |
3.仪器配有水平检测装置 |
4.仪器外观颜值高,美观大方、便于清洁 |
5.夹具是由优质304不锈钢制作抛光镜面处理,经久耐用 |
6.此测试项目为破坏性测试,若遇到打滑现象,可将样品打磨成三角口 |

三、执行标准及应用
符合标准
YY 0315-2016,ISO/TS 13498 试验等标准。
应用
用于钛及钛合金材料制成的不带表面涂层的牙种植体抗扭性能检测。
行业应用价值
质量控制:确保种植体连接界面稳定性,降低手术中基台松动或断裂风险。
研发优化:通过扭矩-角度曲线分析,改进种植体螺纹设计及材料硬度梯度。
合规认证:满足YY 0315-2023、ISO/TS 13498等标准,支撑NMPA注册检验。
四、测试流程
样品制备
种植体按临床规范组装基台,固定于仿骨模块(如PMMA树脂),确保无安装间隙。
每组试样≥5个,避免单点数据偏差。
测试模式选择
静态破坏测试:以1 r/min匀速加载至断裂,记录最大扭矩及刚度。
动态疲劳测试:设定扭矩范围循环加载,监测5000次后的性能衰减。
结果判定
失效标准:扭矩衰减>15%或出现可见变形/断裂。
数据输出:软件自动计算均值、变异系数及失效形式分析报告。
五、配置清单
主机1台;
测试软件1套;
说明书1份;
合格证1份;
保修卡1份;
签收单1份;
铭牌1块;
电源线1根;
扳手1套;
宣传册若干;
8mm气管2米

相关文章
-
2024-09-27
依据标准:QB/T 2155,QB/T4116-2010&n···
-
2024-09-06
一,用途主要用于医用球囊、充气球囊、扩张球囊、硅胶球囊、呼吸···
-
2024-09-29
用途描述熨烫升华色牢度仪是一种专门用于测试各种纺织品耐熨烫升···
-
2024-09-05
一、功能与定义核心作用通过量化切割力值,评估刀片能否高效···
-
2024-09-21
仪器用途∶对浮力体材料(如气囊、泡沫塑料、木棉囊等)及救生衣···
-
2024-09-30
1、耐磨损性 在陶瓷磨屑中运动的磨损试验 试验目的是模拟手表···
-
2024-09-23
一、测试原理及设备特点测试原理:手套完整性测试仪是采用压差衰···
-
2024-09-06
导管柔顺性测试仪是评估医用导管在模拟血管环境中弯曲变形能力的···
-
2024-08-21
描述鞋子剥离强度试验机用于检验成鞋鞋底与鞋帮之间剥离强度.将···
-
2024-09-28
一、 原理:根据YY/T0681.15-2019该···



