产品目录
推荐文章
- 牙科治疗机压力损失测试仪
- 口腔灯阴影测试工装
- 制备吸水性和溶解性试样的不锈钢模具和盖子
- 拉伸粘接强度试验装置-活动义齿软衬材料
- 制样的对开模具-弹性回复和压应变试验
- 细节再现和与石膏的配伍性试验组件
- 周边有孔环形模具及其附件环形模具固位座、细节再现性试验--试样成形附件
- 带孔的黄铜模具-装盒塑性试验用带孔的黄铜模具
- 牙科学石膏产品线固化膨胀伸长仪——三角形截面槽
- 细节再现工装、细节再现器具、划线试验块
联系我们
联系人:王经理
联系电话:13120992305
客服QQ:1552956819
公司地址:上海市松江区洞泾镇长兴东路1586号
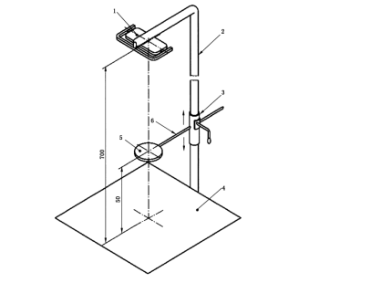
口腔灯阴影测试工装
口腔灯阴影测试工装
执行标准:
YY/T 1120-2021中7.3.8
技术参数;
圆盘直径:φ 20mm (厚:1mm)
距离测量屏:50mm
测量屏:带直角坐标系
光源距屏:700mm
工装包含柱、调节用滑动环、测试屏、杆

配置清单
工装一套,合格证一份,铭牌一份。

本文地址:/ndetail/1922.html
- 上一篇:制备吸水性和溶解性试样的不锈钢模具和盖子
- 下一篇:牙科治疗机压力损失测试仪
相关文章
-
2024-09-27
依据标准:QB/T 2155,QB/T4116-2010&n···
-
2024-09-29
用途描述熨烫升华色牢度仪是一种专门用于测试各种纺织品耐熨烫升···
-
2024-09-06
一,用途主要用于医用球囊、充气球囊、扩张球囊、硅胶球囊、呼吸···
-
2024-09-05
一、功能与定义核心作用通过量化切割力值,评估刀片能否高效···
-
2024-09-06
导管柔顺性测试仪是评估医用导管在模拟血管环境中弯曲变形能力的···
-
2025-06-02
仪器应用波纹板式脱硝催化剂磨损率测试仪是专门用于评估波纹板式···
-
2024-09-30
1、耐磨损性 在陶瓷磨屑中运动的磨损试验 试验目的是模拟手表···
-
2024-09-21
仪器用途∶对浮力体材料(如气囊、泡沫塑料、木棉囊等)及救生衣···
-
2024-09-23
一、测试原理及设备特点测试原理:手套完整性测试仪是采用压差衰···
-
2024-09-02
生产的系列医用注射针(器)、输液针(器)、缝合针(线)测试仪···



