产品目录
推荐文章
- 呼吸脉冲发生器
- 气管套囊综合性测试仪
- 正畸矫治器用膜片耐磨耗测试仪
- 真空搅拌脱泡机
- 高压纳米均质机、高压均质机
- 防锈脂吸氧测定仪
- 发动机冷却液铝泵气穴腐蚀特性测定仪
- 全自动润滑脂高温轴承寿命测试仪
- 管状血管移植物长度测量装置
- 低温鞋底弯曲试验机
联系我们
联系人:王经理
联系电话:13120992305
客服QQ:1552956819
公司地址:上海市松江区洞泾镇长兴东路1586号
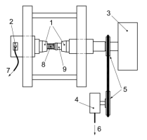
牙科扭转强力测试仪 牙科扭转测试仪 牙种植体抗扭性能测试仪
更新时间:2025-07-15产品型号:JJ-Z029A
产品价格:电议
产品品牌:觐嘉
产品详情
牙科扭转强力测试仪、牙科扭转测试仪、牙种植体抗扭性能测试仪
一、核心测试功能
抗扭性能测试
测量种植体-基台连接结构的抗扭强度,记录断裂扭矩峰值及破坏形式如螺纹滑扣、界面分离。
支持循环加载测试,监测长期咀嚼载荷下的扭矩衰减率。
紧固扭矩验证
对种植体施加规定值的紧固扭矩,保持5秒后观察变形/断裂,反向松开时松开扭矩需≥紧固扭矩的75%。
扩展应用
兼容根管锉、牙科手机等器械的扭力测试,分析抗弯抗扭复合性能。
二、关键技术参数
参数类别 | 指标范围 |
控制系统 | PLC控制系统 |
操作界面 | 彩色7寸触摸屏显示,中、英文菜单式操作,简单方便,显示直观 |
测试项目 | 抗扭性能,紧固性能 |
扭矩传感器 | 采用高精度扭矩传感器0-5N.m,精度0.01N.M-,旋转角度0-360°检测精度高、稳定性好、抗干扰性强仪器触摸屏显示Nm |
抗扭测试扭力范围 | 0-5N.m,精度0.01N.M-内外连接 |
旋转角度 | 0-360 |
电源 | 220V,50Hz |
设备重量 | 31.6kg |
外形尺寸 | 550*400*530(mm) |
自锁夹具 | 棘轮全金属自锁【0.8-10】[3/8螺纹接口] |
 
核心技术参数
1.精密减速机,传动稳、噪音小 |
2.核心传动机构选用进口精密导轨 |
3.仪器配有水平检测装置 |
4.仪器外观颜值高,美观大方、便于清洁 |
5.夹具是由304不锈钢制作抛光镜面处理,经久耐用 |
6.此测试项目为破坏性测试,若遇到打滑现象,可将样品打磨成三角口 |

三、执行标准及应用
符合标准
YY 0315-2016,ISO/TS 13498 试验等标准。
应用
用于钛及钛合金材料制成的不带表面涂层的牙种植体抗扭性能检测。
行业应用价值
质量控制:确保种植体连接界面稳定性,降低手术中基台松动或断裂风险。
研发优化:通过扭矩-角度曲线分析,改进种植体螺纹设计及材料硬度梯度。
合规:满足YY 0315-2023、ISO/TS 13498等标准,支撑NMPA注册检验。
 
四、测试流程
样品制备
种植体按临床规范组装基台,固定于仿骨模块如PMMA树脂,确保无安装间隙。
每组试样≥5个,避免单点数据偏差。
测试模式选择
静态破坏测试:以1 r/min匀速加载至断裂,记录扭矩及刚度。
动态疲劳测试:设定扭矩范围循环加载,监测5000次后的性能衰减。
结果判定
失效标准:扭矩衰减>15%或出现可见变形/断裂。
数据输出:软件自动计算均值、变异系数及失效形式分析报告。
 
 
五、配置清单
主机1台;
测试软件1套;
说明书1份
合格证1份
保修卡1份
签收单1份
铭牌1块
电源线1根
扳手1套
宣传册若干
8mm气管2米
 

本文地址:/pdetail/2204.html
相关文章
-
2026-04-01
呼吸脉冲发生器一、 概述:呼吸···
-
2026-04-01
气管套囊综合性测试仪 一、产品···
-
2026-03-31
···
-
2026-03-31
真空搅拌脱泡机一、产品介绍以及特点产···
-
2026-03-31
高压纳米均质机、高压均质机 ···
-
2026-03-31
防锈脂吸氧测定仪一、产品介绍以及特点···
-
2026-03-31
发动机冷却液铝泵气穴腐蚀特性测定仪一、···
-
2026-03-31
全自动润滑脂高温轴承寿命测试仪一、介绍···
-
2026-03-30
管状血管移植物长度测量装置一、产品介绍···
-
2026-03-30
低温鞋底弯曲试验机概述:低温鞋底弯曲试验···
13120992305


